Detailed description
Original instructions
Structure diagram
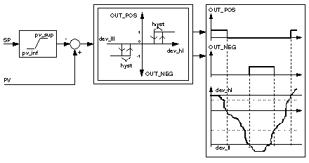
The following is a structure diagram of the STEP3 block:
Behavior of the outputs
Behavior of the OUT_POS and OUT_NEG blocks:
td 
Time span
If the deviation (DEV = PV - SP) climbs above dev_hl, the logical output OUT_POS is set to 1. If the deviation is less, OUT_POS is then only set to zero if the deviation is less than dev_hlhyst.
If the deviation is less than dev_ll, the configured output OUT_NEG is set to 1. If the deviation increases again, OUT_NEG is only set to zero if the deviation exceeds dev_ll + hyst.
NOTE: To ensure that the block functions without errors, the outputs OUT_NEG and OUT_POS should not be inverted.
Operating mode
The STEP3 function block has 2 operating modes available according to the value of the MAN_AUTO parameter:
Operating mode
MAN_AUTO
Meaning
Automatic
1
The block calculates the outputs OUT_NEG and OUT_POS itself.
Halt
0
The outputs OUT_NEGandOUT_POS will be held at the last calculated value.